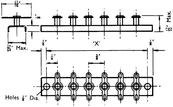
Terminals Type TS6

Catalogue Index

Terminals Type TS8


Stand-Off Insulators & Terminals - Type TS7

Price: £3.75 each





Terminals Type TS6

Catalogue Index

Terminals Type TS8